

一、路面狀況傳感器產品介紹
路面狀況傳感器又稱路面狀況檢測器,路面狀況傳感器采用遙感技術,多光譜測量技術使得能準確檢測道出道路表面結冰、積雪和積水的存在狀態和厚度,同時還能實時監測影響交通安全的大霧、雨和雪等天氣現象。
WX-LM1系列非接觸式路面狀態檢測器,它采用遙感技術,避免了對道路的破壞,從而不會因為安裝道路氣象站引起的對交通的干擾。多光譜測量技術使得能準確檢測道出道路表面結冰、積雪和積水的存在狀態和厚度,同時還能實時監測影響交通安全的大霧、雨和雪等天氣現象。
二、功能
l檢測路面積水、積雪、結冰狀態
l遠距離遙感檢測路面、橋面狀況
l非埋入式安裝快捷簡便
l車流量和事故多發區域
l雨雪多發區域
l維護成本低
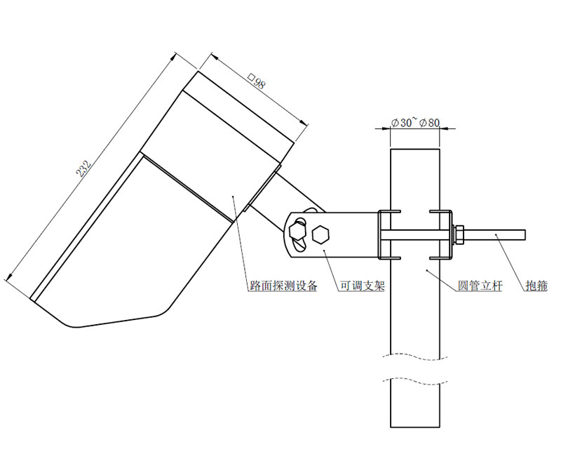
三、產品尺寸圖
四、主要指標
型號 | WX-LM3(停售) | WX-LM1 |
檢測距離及檢測區域直徑 | 2-8米;23cm | |
對水平線的安裝角度 | 30-80度 | |
電源及功耗 | DC12-24V; 0.6W | |
工作溫度和濕度 | 溫度:-40 oC 至 +60 oC ; 濕度:0 至 95% | |
積水厚度 | - | 0-10 mm |
覆冰厚度 | - | 0-2 mm |
積雪厚度 | - | 0-2 mm |
濕滑程度 | - | 0.01(濕滑)-0.82(摩擦強) |
路面狀態報告 | 干燥、 潮、 濕、 雪、 冰、 冰水混合 | |
公路天氣現象(選配) | 路面溫度: -40 oC 至 +60 oC | |
天氣現象: 雨;雪;大霧 | ||
路面材料 | 混凝土、瀝青路面 | |
通訊 | RS485、RS232 | |
?隨著夏季腳步的臨近,雨水增多,汛期也要隨之到來,這對于水利工程、灌溉工程等都是一個極大的考驗,需要提···
?WX-SW2水文監測系統是可以實時監測渠道內水位、降雨量的監測設備,在之前的監測方法中面對突如其來的洪水、···
?WX-Q3農業四情監測系統是一款針對農田中“土壤、蟲情、氣象、苗情、孢子”這幾大關鍵要素進行實時監測與預警···
?WX-YL4雷達雨量傳感器能夠實時監測降雨情況,通過發射和接收雷達波,精確測量降雨強度、降雨量和降雨分布等···
?WX-QC8小型自動八要素氣象站以其小巧的體積和輕便的設計,成為了眾多監測任務的首選。無論是城市街頭的臨時···
?青海下黑嶺地區的自然環境獨特,河流縱橫交錯,水文情況復雜多變。為了更好地掌握河流的水文狀況,預防洪水···
?WX-BB1布病檢測站依托現代生物技術,實現了對布魯氏菌的高效、精準檢測。從傳統的血清學檢測,到如今廣泛應···
?在“雙減”政策背景下,WX-XQ2中小學校園氣象站成為了促進學生全面發展的新陣地。孩子們在參與氣象觀測、記···
?WX-YZQX10軍用氣象觀測儀是一款相比于普通便攜氣象站更結實、更耐磨的氣象監測系統,由于野外作戰經常需要在···
?在傳統氣象監測站的基礎上,WX-BQX7P七要素一體化氣象監測設備實現了質的飛躍。這款設備集風速、風向、空氣···
魯公網安備37079402370807 備案號:魯ICP備2022000322號-4 百度地圖txt地圖